700V Half Bridge MOSFET/IGBT Gate Driver IC SOIC8 TPG2183 Topdiode (IRS2183S)
- Floating channel designed for bootstrap operation
- Fully operational to +700 V
- 3.3V, 5V and 15V input logic compatible
- Tolerant to negative transient voltage dV/dt immune
- Allowable negative Vs capability: -9V
- Gate drive supply range from 10V to 20V
- Separate logic supply range from 3.3V to 20V
- Undervoltage lockout for both channels
- Matched propagation delay for both channels
- Wide operating temperature range -40°C ~125°C
- Typically output Source/Sink current capability: 4A/4A
- RoHS compatible
Topdiode 700V Half Bridge MOSFET/IGBT Gate Driver IC SOIC8 TPG2183 (IRS2183S)
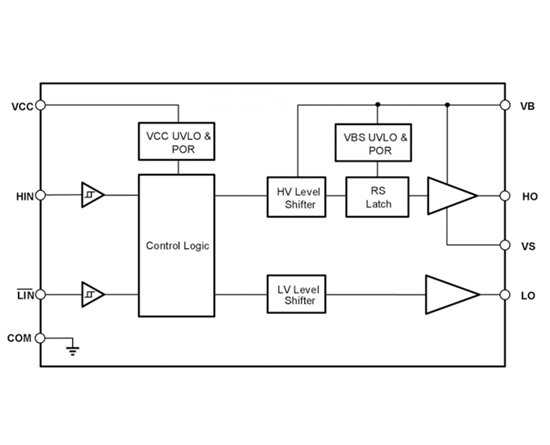
TOPDIODE TPG2183 is a high voltage, high speed power MOSFET drivers with dependent high and low-side
referenced output channels. Proprietary HVIC and latch immune CMOS technologies enable ruggedized
monolithic construction. The logic input is compatible with standard CMOS or LSTTL output, down to 3.3 V
logic. The output drivers feature a high pulse current buffer stage designed for minimum driver cross- conduction. The floating channel can be used to drive an N-channel power MOSFET in the high-side
configuration which operates up to 700 V.
Topdiode TPG2183 is a nice alternative offer for Infineon driver IC IRS2183.
Topdiode 700V Half Bridge MOSFET/IGBT Gate Driver IC SOIC8 TPG2183 DATA
- Tab
| Topdiode PN | TPG2183 |
| Description | H-bridge Drive(N+N) |
| Operating Voltage | 700V |
| Input signal | HIN,LIN |
| Deadtime | 400ns |
| Ton/Toff (ns) | 130ns/130ns |
| IO+/IO- | 4A/4A |
| Package | SOIC8 |
| Cross to Brand | Infineon |
| Pin to Pin Cross P/N | IRS2183S |
Topdiode Hot Selling Products (6)

Topdiode mosfet, drive IC used on Medical Equipment
Brushed DC motors and brushless DC motors have become a necessity for today’s personal medical equipment due to their low noise, good controllability, and high precision. Equipment such as medical beds and robotic arms contain a large number of motor systems. However, these devices often operate in various extreme working environments. For example, the temperature in high-temperature sterilization equipment reaches above 125°C, so we have higher requirements for the reliability of the devices.
Topdiode dual-chip MOSFET Advantage:
Smaller package size: dual-chip N+N or N+P dual-core mosfet package chip for brushless brushless DC motors.
Greater current capability: The use of CLIP and SMD packaging makes the chip’s heat dissipation capability stronger.
Better reliability: The new generation of SGT technology enables a larger safe working area.
Topdiode mosfet, drive IC used on medical equipment
N-channel SGT Gen.2 MOS&N-channel SGT Gen.1 MOS&N-channel Trench MOS:
VDS=60V-100V Ron@10V(max)=4mΩ-35mΩ dual-chip N+N, N+P
IC:drive IC

Topdiode Driver IC Applications



A Driver IC, or Driver Integrated Circuit, is a semiconductor device that is used to control and drive other components, such as LEDs, motors, displays, or other devices. Its primary function is to provide the necessary electrical signals to control and power external components efficiently.
Here’s a general overview of how a Driver IC works:
Signal Processing:
The Driver IC often receives control signals from a microcontroller or another central processing unit.
These signals may include information about the desired state or intensity of the connected device, such as the brightness of an LED or the speed of a motor.
Voltage Regulation:
Driver ICs typically incorporate voltage regulation circuitry to ensure a stable and consistent power supply to the connected device.
This is important for maintaining the proper operation of the external component and preventing damage due to voltage fluctuations.
Power Switching:
Driver ICs can include power switching elements, such as transistors, to control the flow of current to the connected device.
The switching elements are often used to turn the connected device on or off, or to modulate the power supplied to control its performance.
Current Control:
Some Driver ICs also offer current control features, especially in applications like LED driving. They can regulate the current flowing through the LEDs to achieve consistent brightness and prevent overcurrent conditions.
Protection Mechanisms:
Driver ICs may include protection mechanisms to safeguard both themselves and the connected components. Common protections include overcurrent protection, overvoltage protection, and thermal protection.
Feedback Mechanisms:
Advanced Driver ICs may incorporate feedback mechanisms to monitor the performance of the connected device and adjust the driving parameters accordingly.
This can be achieved through sensors or feedback circuits that provide information about the actual state of the device being driven.
Communication Interfaces:
In some cases, Driver ICs support communication interfaces like I2C, SPI, or UART, allowing them to receive commands and data from a micro-controller or another control unit.
Application-Specific Features:
Depending on the application, Driver ICs may include specific features tailored to the needs of the connected device. For example, a motor driver IC might include features like pulse-width modulation (PWM) control for speed regulation.
The features of a Driver IC can vary depending on its intended application and the type of component it is designed to drive. However, here are some common features found in various Driver ICs:
Voltage Regulation:
Ensures a stable and consistent power supply to the connected device, preventing damage due to voltage fluctuations.
Current Control:
Regulates the current flowing to the connected device, especially in applications like LED driving, to achieve consistent brightness and prevent over-current conditions.
Power Switching:
Controls the flow of current to the connected device, allowing the Driver IC to turn the device on or off, or modulate the power supplied to control its performance.
Protection Mechanisms:
Includes features such as over-current protection, over-voltage protection, and thermal protection to safeguard the Driver IC and the connected components.
Feedback Mechanisms:
Monitors the performance of the connected device and adjusts driving parameters accordingly, often through sensors or feedback circuits.
Communication Interfaces:
Supports communication interfaces like I2C, SPI, or UART, enabling the Driver IC to receive commands and data from a micro-controller or another control unit.
PWM (Pulse-Width Modulation) Control:
Provides the ability to modulate the output signal by varying the duty cycle of the pulse, commonly used in applications where variable control of power or speed is required.
Integrated Diagnostics:
Offers diagnostic features to identify faults or malfunctions in the connected system, facilitating troubleshooting and maintenance.
Fault Detection and Reporting:
Detects faults or abnormal conditions in the connected device and reports them to the control system for appropriate action.
Application-Specific Features:
Tailored features based on the specific requirements of the application, such as specialized control modes, sequencing, or timing functions.
Low Power Consumption:
Some Driver ICs are designed for energy efficiency, minimizing power consumption during operation to enhance overall system efficiency.
High Efficiency Power Conversion:
In applications involving power conversion, Driver ICs may feature high-efficiency switching circuits to optimize energy transfer.
Configurability:
Allows users to configure various parameters and settings based on the specific requirements of the application.
Compatibility with External Components:
Ensures compatibility with a wide range of external components, making the Driver IC versatile for different applications.
It’s important to note that the features of a Driver IC can vary widely based on the application, and manufacturers may design specialized Driver ICs with additional features to meet the specific needs of certain devices or systems.
Driver ICs find applications in a variety of electronic systems where there’s a need to control and drive external components efficiently. Some common applications include:
LED Lighting:
Driver ICs are used to control the brightness of LEDs, ensuring stable current and voltage to achieve consistent and efficient lighting.
Motor Control:
In electric motors, Driver ICs are employed to control speed, direction, and torque. They are used in applications ranging from consumer electronics (like fans and appliances) to industrial machinery.
Display Drivers:
Driver ICs are utilized in display technologies, such as LCDs (Liquid Crystal Displays) and OLEDs (Organic Light-Emitting Diodes), to control pixel voltages and refresh rates.
Power Supplies:
Driver ICs play a crucial role in power supply units, regulating voltage and current to ensure stable power delivery to electronic devices.
Audio Amplifiers:
In audio systems, Driver ICs amplify low-power audio signals to levels suitable for speakers or headphones, providing the necessary power to produce sound.
Solenoid and Relay Drivers:
Driver ICs control the activation and deactivation of solenoids and relays in various applications, such as automotive systems and industrial automation.
Sensor Signal Conditioning:
Driver ICs are used to condition signals from sensors, amplifying and processing them before they are sent to microcontrollers or other processing units.
Brushless DC (BLDC) Motor Control:
Driver ICs are employed in the control of BLDC motors, commonly used in applications like computer fans, robotics, and electric vehicles.
Piezoelectric Actuator Control:
In applications where precise control of piezoelectric actuators is required, such as in printers and positioning systems, Driver ICs are used.
Photovoltaic (PV) Inverter Control:
Driver ICs are used in solar inverters to control the conversion of DC power generated by solar panels into AC power for use in electrical grids.
Thermal Printers:
In thermal printers, Driver ICs control the heating elements responsible for producing printed images on thermal paper.
Communication Interfaces:
Driver ICs are employed in various communication interfaces, such as RS-485 or RS-232 drivers, to ensure proper signal transmission between devices.
LED Matrix and Display Modules:
Driver ICs are used to control arrays of LEDs in displays, scoreboards, and signage applications.
Stepper Motor Control:
Driver ICs are essential for controlling the precise movement of stepper motors in applications like 3D printers, CNC machines, and robotics.
These applications highlight the versatility of Driver ICs in various electronic systems, providing the necessary control and power management for a wide range of components and devices.
Driver ICs offer several benefits in electronic systems and applications, contributing to the efficient and reliable operation of devices. Some key advantages include:
Efficient Power Management:
Driver ICs help manage and regulate power distribution, ensuring that connected components receive the appropriate and stable voltage and current. This contributes to energy efficiency and optimal performance.
Precise Control:
Driver ICs enable precise control over external components, such as motors, LEDs, and displays. This precision is crucial for achieving desired performance characteristics in applications like motor speed control or LED brightness modulation.
Enhanced Reliability:
Incorporation of protection features, such as overcurrent and overvoltage protection, contributes to the overall reliability of electronic systems by preventing damage to components during fault conditions.
Simplified System Design:
Driver ICs often integrate various functions into a single package, reducing the complexity of system design. This integration can include voltage regulation, current control, and protection mechanisms, simplifying the overall design process.
Optimized Performance:
Driver ICs are designed to optimize the performance of specific components, such as motors or LEDs, by providing the necessary signals and power in a controlled manner. This leads to improved efficiency and functionality.
Ease of Integration:
Driver ICs are designed to be easily integrated into electronic systems. They often feature standard communication interfaces and compatibility with microcontrollers, making them straightforward to incorporate into existing designs.
Cost Savings:
The integration of multiple functions into a single Driver IC can lead to cost savings in terms of component count, board space, and overall system complexity.
Diagnostic Capabilities:
Many Driver ICs incorporate diagnostic features that allow for the monitoring of device and system health. This facilitates easier troubleshooting and maintenance.
Versatility:
Driver ICs are versatile components that can be applied across a wide range of applications, from consumer electronics to industrial machinery. This versatility makes them suitable for various design requirements.
Energy Efficiency:
Driver ICs designed for low power consumption contribute to overall energy efficiency in electronic systems, making them suitable for battery-powered devices and environmentally conscious applications.
Adaptability to Different Components:
Driver ICs can be designed to drive different types of components, such as motors, LEDs, or displays, allowing for flexibility in system design and application.
Improved System Safety:
Protection mechanisms in Driver ICs enhance system safety by preventing component damage and reducing the risk of electrical failures.
In summary, Driver ICs provide a range of benefits that contribute to the efficient, reliable, and cost-effective operation of electronic systems. Their versatility and integration capabilities make them essential components in many applications across various industries.













